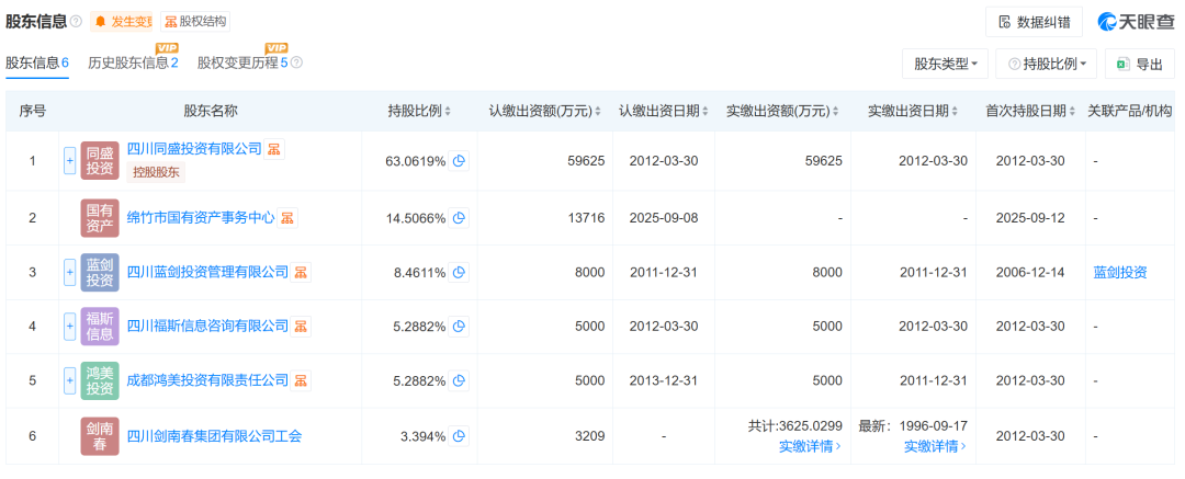
微成都报道 天眼查最新显示,9月12日,四川剑南春(集团)有限责任公司发生工商变更,新增绵竹市国有资产事务中心为股东,同时,注册资本由约8.08亿人民币增至约9.46亿人民币。
股权变动显示,绵竹市国有资产事务中心通过认缴1.37亿元出资额的方式,获得剑南春集团14.51%股权,成为公司第二大股东。
在新增股东后,原有五位股东的持股比例均下降。其中,四川同盛投资有限公司持股比例由74.1439%变更至63.0619%、四川蓝剑投资管理有限公司持股比例由9.9480%变更至8.4611%、四川福斯信息咨询有限公司持股比例由6.2175%变更至5.2882%、成都鸿美投资有限责任公司持股比例由6.2175%变更至5.2882%。

目前,四川同盛投资有限公司仍为剑南春集团第一大股东。该公司由乔天明等19名自然人持股,乔天明持股比例为41%。股权穿透后,乔天明为剑南春集团实际控制人。
乔天明出生于1949年,他自1982年进入剑南春酒厂,历任剑南春酒厂副厂长、总经理等职务,并于2000年起担任剑南春集团董事长、党委书记。
资料显示,剑南春集团是中国知名大型白酒企业,成立于1996年,位于四川省绵竹市,该公司法定代表人为乔愚,经营范围为批发兼零售,预包装食品,危险货物运输等。日前,全国工商联发布“2025中国制造业民营企业500强”系列榜单,剑南春集团凭借163.61亿元的营收总额登上榜单。
值得注意的是,乔愚为剑南春集团董事长乔天明之子。据剑南春集团官网公告,2022年4月,乔愚正式出任剑南春副董事长、总经理、法定代表人,主持公司全面工作。
今年年初,剑南春集团在其公众号上表示,2024年公司实现全年工业总产值同比增长15.11%,营收同比增长3.74%。
据南方都市报此前报道,剑南春集团2023年营收总额为169.41亿元,同比增长13.55%;2023年集团全年工业总产值同比增长12.49%,纳税同比增长22.66%。
编辑|孙志成 综合每日经济新闻、公开资料、南方都市报
